QRコード
お問い合わせ


ファックス
+86-574-87168065


住所
中国、ニンボ市、ゼンハイ地区のルオツオ工業地域
すべてのシフトをかき混ぜるスチールローリングミル、大量の材料を持ち上げるクレーン、または地下のほこりや圧力と戦うマイニングギアなど、重い機械を運営している場合、あなたを失望させないカップリングが必要です。それはまさに、レイダフォンのSWC-BH標準フレックス溶接タイプのユニバーサルカップリングが構築されているものです。
まず、そのデザインについて話しましょう。溶接ヨークは単なる機能ではなく、ゲームチェンジャーです。時間の経過とともに緩む可能性のあるボルトで覆われたヨークとは異なり、これは溶接された固体であるため、機械が一生懸命働いているときに部品が揺れ動くリスクはありません。また、幅広いセットアップにも適合し、180mmから620mmのガイレーション直径があります。これは、1つのサイズのオプションを探し出す必要はありません。標準のフレックスユニバーサルカップリングとして、最大15度の角度の不整合を処理します。つまり、シャフトが完全に並んでいない場合(そして、本物ではありませんが、めったにありません)、それでもパワーを動かし続けます。トルクが1250 kn・mの到着に達した場合でも、それは安定したままで、スタート、ドロップはありません。
私たちも材料をスキップしませんでした。このことは、35CRMOスチールで作られています。耐摩耗性が高く、鉱山で叩かれたり、ローリングミルの近くで暖房されたりしても。さらに、精密な針ベアリングを入れて、滑らかに動き、摩擦を削減し、安価なカップリングよりもずっと長持ちします。だからこそ、重機の普遍的な結合のための頼りになるのは、数週間だけ機能するだけではありません。それはあなたの機器を走らせたままにして、周りに固執します。また、産業用途向けに溶接されたユニバーサルカップリングが必要な場合は?これはそれです。溶接設計は、ボルトで覆われた代替案よりも振動とストレスをうまく処理しますので、修正に費やす時間が短くなり、作業に時間がかかります。
Raydafonでは、中国でこれらを作りますが、品質の角を切りません。すべてのステップはISO 9001の標準に従います。スチールをチェックし、溶接を検査し、ベアリングをテストします。そして、あなたのセットアップが少し違う場合は?サイズを調整し、仕様を調整する必要がある場合は、カスタムの調整を行います。最高の部分?豪華な部分のように価格はありません。あなたは、大金を払うことなく、一生懸命働く耐久性のある普遍的なカップリングを取得します。ダウンタイムを買う余裕がない人にとっては、このSWC-BHカップリングは、毎日機械を動かし続ける信頼できる作品のようなものです。
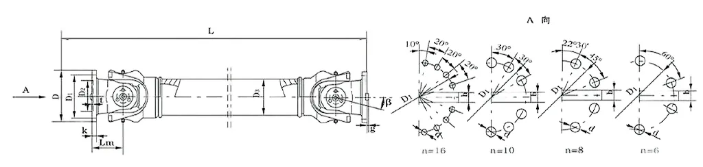
| いいえ。 | 回転直径d mm | 公称トルク TN kn・m | 軸の折りたたみ角 β (°) | 疲れたトルク TF kn・m | サイズ(mm) | 回転慣性 KG.M2 | 体重(kg) | |||||||||||
| lmin | D1 (JS11) | D2 (H7) | D3 | lm | n-d | k | t | b (H9) | g | lmin | 増加 100mm | lmin | 増加 100mm | |||||
| SWC100WH | 100 | 1.25 | 0.63 | 25° | 243 | 84 | 57 | 60 | 55 | 6-9 | 7 | 2.5 | - | - | 0.0039 | 0.00019 | 4.5 | 0.35 |
| SWC120WH | 120 | 2.5 | 1.25 | 25° | 307 | 102 | 75 | 70 | 65 | 8-11 | 8 | 2.5 | - | - | 0.0096 | 0.00044 | 7.7 | 0.55 |
| SWC150WH | 150 | 5 | 25 | 25° | 350 | 130 | 90 | 89 | 80 | 8-13 | 10 | 3 | - | - | 0.371 | 0.00157 | 18 | 24.5 |
| SWC180WH | 180 | 12.5 | 6.3 | 25° | 180 | 155 | 105 | 114 | 110 | 8-17 | 17 | 5 | - | - | 0.15 | 0.007 | 48 | 2.8 |
| SWC225WH | 225 | 40 | 20 | 15° | 520 | 196 | 135 | 152 | 120 | 8-17 | 20 | 5 | 32 | 9 | 0.365 | 0.0234 | 78 | 4.9 |
| SWC250WH | 250 | 63 | 31.5 | 15° | 620 | 218 | 150 | 168 | 140 | 8-19 | 25 | 6 | 40 | 12.5 | 0.817 | 0.0277 | 124 | 5.3 |
| SWC285WH | 285 | 90 | 45 | 15° | 720 | 245 | 170 | 194 | 160 | 8-21 | 27 | 7 | 40 | 15 | 1.756 | 0.051 | 185 | 6.3 |
| SWC315WH | 315 | 125 | 63 | 15° | 805 | 280 | 185 | 219 | 219 | 10-23 | 32 | 8 | 40 | 15 | 2.893 | 0.0795 | 262 | 8 |
| SWC350WH | 350 | 180 | 90 | 15° | 875 | 310 | 210 | 267 | 194 | 10-23 | 35 | 8 | 50 | 16 | 5.013 | 0.2219 | 374 | 15 |
| SWC390WH | 390 | 250 | 125 | 15° | 955 | 345 | 235 | 267 | 215 | 10-25 | 40 | 8 | 70 | 18 | 8.406 | 0.2219 | 506 | 15 |
| SWC440WH | 440 | 355 | 180 | 15° | 1155 | 390 | 255 | 325 | 260 | 16-28 | 42 | 10 | 80 | 20 | 15.79 | 0.4744 | 790 | 21.7 |
| SWC490WH | 490 | 500 | 250 | 15° | 1205 | 435 | 275 | 325 | 270 | 16-31 | 47 | 12 | 90 | 22.5 | 26.54 | 0.4744 | 1014 | 21.7 |
| SWC550WH | 550 | 710 | 355 | 15° | 1355 | 492 | 320 | 426 | 325 | 16-31 | 50 | 12 | 100 | 22.5 | 48.32 | 1.357 | 1526 | 34 |
作業を遅くしたり、最も必要なときに壊れたりするうるさいカップリングに対処することにうんざりしている場合は、フレックス溶接タイプなしのレイダフォンのSWC-Whは、ゲームチェンジャーです。機械システムでスムーズなトルク伝送を必要とする人にトップピックになる特典が詰まっています。溶接手順を混乱させず、ワークフローにぴったりの堅実な性能です。
まず、このことをインストールすることは、あなたが思っているよりもはるかに簡単です。余分なツールを持ち込むか、溶接が設定されるのを待つ溶接カップリングとは異なり、SWC-WHはボルトオン設計を使用します。既存のセットアップに速くスロットできますが、メンテナンスの時間はいつですか?それを分解するのは簡単なので、あなたの産業用具はアイドル時間が少なくなります。だからこそ、それは非常に汎用性の高い高トルクのユニバーサルジョイントカップリングです。
耐久性は、それを厳しくするために構築されています。私たちは、大きな負荷と一定の振動をゆるめることなく処理する頑丈な材料を使用します。これは、機器が実際に休憩を取らない忙しい産業用スポットに最適です。また、溶接がないため、溶接が時間の経過とともに摩耗するときにポップアップする弱点を心配する必要はありません。これは、数か月ごとに交換する必要がある結合ではありません。これは、産業機械の信頼できる普遍的な共同結合であり、操業を安定させています。
ミスアライメント?問題ない。特に自動車や輸送システムでは、シャフトは完全に並ぶことはありませんが、SWCWHはPROのような角度、軸、および放射状の逸脱を処理します。ドライブシャフトユニバーサルジョイントカップリングは、アライメントが不安定になった場合でもパワーをスムーズに動かし続けます。ジャーク、ドロップなし、一貫したパフォーマンス。
コストについて話しましょう。溶接は追加の人件費と材料費を追加しますが、この結合はそれをすべてスキップします。過剰な支出なしに高品質の製品を手に入れます。これは、あらゆる予算にとって大きな勝利です。腐食が絶え間ない脅威である海洋のセットアップのようなトリッキーなスポットでさえ、それは信頼できる海洋普遍的な共同カップリングとして耐えます。
あなたが再生可能エネルギーに興味があるなら、この結合もまさに適合します。これは、廃棄物がほとんどなく、電力を効率的に移動する再生可能エネルギー機器のしっかりとした普遍的な共同カップリングです。さらに、それは軽いので、システムを圧迫することはありません。パフォーマンスを犠牲にすることなく、物事を持続可能に走らせ続けるために素晴らしいです。
Raydafonでは、カップリングを販売するだけでなく、ニーズに合ったカップリングを作成します。 SWC-WHはカスタマイズ可能であるため、どのようにしたいかを正確に動作させます。どのようにそれがあなたの運用をよりスムーズにすることができるか興味があるなら、私たちのチームを襲ってください。私たちはあなたにそれを説明します、専門用語はありません - この結合があなたのために何ができるかについてまっすぐに話します。
RaydafonのSWC-WH-WHE FLEX溶接タイプなしのユニバーサルカップリングは、カルダンジョイントメカニクスの基本的なノウハウから機能しますが、産業の仕事のためにより激しく打つために微調整しました。全体のポイント?斜めになっていても、完全に並んでいない2つのシャフトの間でトルクがスムーズに移動します。専用のSWCカルダンシャフトユニバーサルジョイントカップリングとして、それは中央のクロス型のピースを使用して、回転力を安定させ続けます。
それがどのように機能するかの核心を分解しましょう。2つのフォークされたヨークがあり、それらは中央の十字架で接続されています(私たちはそれをクモと呼びます)。このセットアップにより、ヨークが複数の方向にピボットすることができます。そのため、シャフトが最大25°(最大軸の折りたたみ角度)でオフセットされていても、トルクは均等に渡されます。バックアップの仕様もあります。ガイレーションの直径はφ58からφ620までの範囲であり、公称トルクは0.15〜1000 kN・mを処理します。ローリングミルの操作のための頑丈なユニバーサルジョイントカップリングとして使用する場合、この設計は、入力回転がヒッチなしで出力モーションに変わることを意味します。
「フレックス溶接なし」の部分が重要な理由は何ですか?ボルトで締められた接続またはクランプ接続のために溶接を交換しました。溶接は時間の経過とともに弱いスポットになる可能性がありますが、これらのファスナーは故障リスクを削減し、結合を組み合わせることも簡単になります。この産業普遍的な関節カップリングには、ボルトが緩くなるのを止めるアップグレードされたフォークヘッドデザインもあり、その構造強度が30%〜50%増加します。これは、鉱山や建設現場などの要求の厳しいスポットにとって大したことです。そこでは、耐久性のあるSWCユニバーサルジョイントシャフトのカップリングとして機能します。
ここでの効率はもう1つの勝利です。最大98.6%の送信効率が獲得されます。摩擦とエネルギーの廃棄物を削減するためにあらゆる部分を設計しました。そのため、高出力の産業セットアップでの大規模な出力伝達のための効率的な普遍的な共同結合であることは驚くことではありません。そして、それは静かに走ります:通常は30〜40 dB(a)。これは、バランスの取れた回転とビルトイン振動ダンピングのおかげです。ノイズが問題である場所の低ノイズ普遍的な関節カップリングを作ります。さらに、エネルギーコストを抑えているため、省エネの普遍的な共同カップリングのニーズのためにボックスをチェックします。
重機の普遍的な関節カップリングシステムでは、これは最も重要です。SWC-WHは、すべての部品に力を均等に広げます。単一のピースがあまりにも多くの負担をかけることはありません。つまり、故障が少なく、寿命が長くなります。 Raydafonでは、スペックを満たすためにこの結合を構築するだけではありません。それが頑丈な重機であろうと専門の産業セットアップであろうと、あなたの仕事のために働くように仕立てます。システムをよりスムーズに実行したり長持ちさせたりするために微調整したい場合は、チームに相談してください。必要なものに適合するセットアップを手に入れるのに役立ちます。
⭐⭐⭐⭐⭐Zhang Wei、Mechanical Engineer、Beijing Industrial Machinery Co.、Ltd。
私たちは、数ヶ月間、生産機器の普遍的な結合をフレックス溶接タイプなしでレイダフォンのSWC-WHに数か月間普及しています。特に、マシンをプッシュして高負荷を処理するときは、安定したパフォーマーでした。私が本当に感謝しているのは、その堅牢なビルドです。他の部分がゆるむようになる可能性のある長く、厳しいシフトであっても、この結合は物事を滑らかにし続けます。ランダムな振動、ライン全体を捨てる突然の障害はありません。
インストールも簡単でした。私たちのチームは、複雑なステップを把握するために何時間も費やす必要はありませんでした。すぐに取り付けられ、それ以来微調整する必要はありませんでした。私たちのような頑丈なギアの場合、信頼性と品質は交渉不可能であり、この結合は両方のボックスをチェックします。 Raydafonは、彼らがここで期待できるパートナーであることを証明しています。私たちは、この製品がどのように持ちこたえるかに本当に満足しています。
⭐⭐⭐⭐⭐米国フロリダ製造業のプラントマネージャー、ジョンスミス
数か月前にフロリダの施設でRaydafonのSWC-WHカップリングを使用しましたが、それはまさに私たちが必要としていたものであり、シンプルで、騒々しく、一貫して効果的です。電力トランスミッションは安定しています。これは、生産をペースで保つための鍵であり、メンテナンスのために一度触れる必要はありませんでした。それは私たちにとって大きな勝利です。部品の固定時間が短いことは、仕事を成し遂げる時間が長くなることを意味します。
マシンを強く走らせているときでさえ、高いストレスの下で、このカップリングはひるませず、ただ続けています。インストールも簡単でした。私たちの技術は、すぐにそれを設定しました。そして、あなたがそのパフォーマンスをリーズナブルな価格とペアリングするとき?それはしっかりした価値です。さらに、Raydafonのカスタマーサポートは、簡単な質問があったときに一流でした。彼らは速く戻ってきました。間違いなく、私たちは彼らの製品をラインに使い続けるでしょう。
Brazil、サンパウロエンジニアリングソリューションズ、オペレーションディレクター、ロベルトシルバ
私たちはしばらくの間レイダフォンと提携してきましたが、フレックスカップリングなしで彼らのSWC-WHは私たちの事業で本当に際立っていました。最初に気付くのは、その堅実な構造です。それは長持ちするように構築されていると感じており、それは私たちの機械の信頼できるパフォーマンスにつながります。
このカップリングに切り替える前に、私たちは古い部品の不整合の問題と早期摩耗からの頻繁なダウンタイムを扱っていました。今?これらの問題はなくなりました。それは私たちのダウンタイムを削減しました、それは生産性の大きな後押しとなっています。とインストール?非常に簡単です - 私たちのチームは、セットアップのトラブルシューティングに時間を無駄にしませんでした。信頼できる送電部品を必要とする会社にとって、これは簡単なことです。絶対にお勧めします。
⭐⭐⭐⭐⭐ピーターミュラー、テクニカルスーパーバイザー、シュトゥットガルト製造GMBH、ドイツ
私たちは6か月以上にわたってシュトゥットガルト生産施設でRaydafonのSWC-WHカップリングを使用してきましたが、それは誤りがありませんでした。そのデザインは簡単で、インストールがシンチになります。私たちのチームは、すぐにそれを装着し、すぐに行く準備ができていました。複雑なステップや特別なツールは必要ありませんでした。
しかし、本当に私を感動させるのは、品質です。溶接は清潔で強く、材料は高品位を感じています。角を切らなかったことがわかります。それは定期的に使用されて完全に保持されており、数ヶ月の継続的な操作の後でも摩耗のゼロの兆候を示しています。私たちはこの製品のパフォーマンスに満足しており、将来のプロジェクトに使用するのはすでにリストに載っています。
住所
中国、ニンボ市、ゼンハイ地区のルオツオ工業地域
Eメール


+86-574-87168065


中国、ニンボ市、ゼンハイ地区のルオツオ工業地域
Copyright©Raydafon Technology Group Co.、限られたすべての権利予約。
Links | Sitemap | RSS | XML | Privacy Policy |
